0 ₽
- Обзор
- Характеристики
- Отзывы (0)
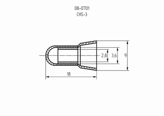
Концевая изолированная заглушка (КИЗ ø 2.8 мм) 1.25 мм² REXANT предназначена для быстрого соединения и изоляции оконцованного пучка из нескольких проводов. Изолирующий корпус заглушки изготовлен из прозрачного нейлона, который обеспечит визуальный контроль процесса обжатия предварительно зачищенных жил и безопасное использование, предотвращая нежелательный контакт обжатого пучка кабелей с другими предметами. В корпусе изолирующей заглушки расположена луженая латунная трубка. Заглушка одевается на пучок зачищенных проводов до упора и обжимается специальными пресс-клещами. Конструкция изделия не предусматривает повторное использование.
Технические характеристики:
Температурный диапазон: -40...+105 ℃
Сечение применяемых проводов: 1.25 мм²
Внутренний диаметр латунной трубки: D = 2.8 мм
Материал корпуса: нейлон 6.6, не содержит галогенов.
Преимущества концевой изолирующей заглушки:
1.) Для контроля процесса опрессовки предусмотрен полупрозрачный корпус, который позволяет контролировать процесс опрессовки.
2.) Быстрый, легкий и безопасный монтаж.
3.) Гарантированное качество и надежность электрических соединений.
4.) Минимизирован человеческий фактор при монтаже.
Особенности конструкции концевой изолирующей заглушки:
- В корпусе заглушки расположена бесшовная трубка.
- Заглушка надевается на пучок до упора и обжимается пресс-клещами (ht-301 H; ht-301 N; ht-301 W).
- Не предусматривается повторное использование.
Применение концевой изолированной заглушки дает возможность существенно ускорять электромонтажные и ремонтные работы, при этом соединение является электробезопасным.
Концевая изолированная заглушка КИЗ-1, ø 2,8 мм (1,0-2,5 мм²) REXANT отзывы
About this product reviews yet. Be the first!






